← Апрель 2004 → | ||||||
1
|
2
|
3
|
4
|
|||
---|---|---|---|---|---|---|
5
|
6
|
7
|
8
|
9
|
10
|
11
|
12
|
13
|
14
|
15
|
17
|
18
|
|
19
|
20
|
21
|
22
|
23
|
24
|
25
|
26
|
27
|
28
|
29
|
30
|
За последние 60 дней ни разу не выходила
Сайт рассылки:
http://www.allbeton.ru/
Открыта:
27-12-2002
Адрес
автора: home.build.penobeton-owner@subscribe.ru
Статистика
0 за неделю
Все о пенобетоне – 16-й выпуск.
Информационный Канал Subscribe.Ru |

Рассылка "Всё о пенобетоне и бетоне" – 16-й выпуск.
(Все права защищены, публикация данной информации в любом виде, без разрешения владельцев запрещена. С предложениями обращаться ibeton@mail.ru)Сайт рассылки - Пенобетон - оборудование для производства, обучение на производстве, технология.
Оптимизация технологического регламента изготовления пенобетонов.
Часть 6 Средства технологического сопровождения изготовления бетонных изделий.
Если отмежеваться от рецептурных проблем, производство бетонов достаточно просто – нужно всего лишь в нужных пропорциях смешать ингридиенты. Специализированное оборудование поможет это сделать с той или иной степенью эффективности. Но если задаться целью, чтобы на входе было сырье, а на выходе некий продукт, пусть это будет пенобетон, - возникает потребность в комплексе оборудования, увязанного и согласованного между собой. Помимо основного оборудования в такой комплекс должны обязательно входить и вспомогательные механизмы, и комплексы – средства по приемке и складированию компонентов, их транспортировки со склада к месту работ, и дозирования.
Если задаться целью создать именно такой законченный производственный комплекс (по сути, завод), окажется, что по стоимости он намного превосходит суммарную стоимость задействованного оборудования. Этот тезис подтверждает и практика – можно сравнительно дешево купить оборудование, но вот целостный комплекс из такого же оборудования, но увязанного между собой в единый тех. процесс, будет на порядок дороже. И дело здесь не только в этой самой “увязке”. Продавая единичный образец любого оборудования, производитель гарантирует исключительно его работоспособность - пеногенератор будет выдавать нужную пену, смеситель - смешивать, форма – формовать и т.д.
Продавая же законченный комплекс по производству того же ячеистого бетона, производитель обязан уже гарантировать не работоспособность единичного установленного оборудования, а работоспособность всего комплекса – т.е. его способность производить определенную продукцию, соответствующую заявленным характеристикам.
Наглядный пример такого подхода – сухие строительные смеси. В принципе их состав достаточно тривиален, а стоимость ингредиентов просто ничтожна, по сравнению со стоимостью конечного продукта. Так за что ж мы платим такие бешеные деньги, спросите Вы?
А платим мы за то, что производитель из, например Германии, гарантирует, что если в далекой России прочитают три строчки инструкции и сделают, как там написано, то тот же плиточный клей будет держать плитку прочно и долго. Причем, заметьте, никого не волнует несколько пьян был дядя Вася, этот клей замешивавший, как точно он дозировал воду, насколько тщательно все это перемешивал, и перемешивал ли вообще. Иными словами в данном случае производитель дает, по сути, гарантию не на свой товар, а на качество работы, выполненное с его помощью.
Как им это удается? - А в составе того же плиточного клея, помимо действительно необходимых составляющих, имеется и целый комплекс добавок, обеспечивающих так называемую “защиту от дурака”. В высококачественных сухих смесях таких добавок насчитывается до 30!!! При всем желании, Вам не дадут возможности грубо нарушить рецептуру или технологию ведения работ. Мало воды прилили (слишком малое В/Ц) – водоудерживающий реагент не отдает волу, - смесь абсолютно не липнет к основе. Много воды добавили (слишком большое В/Ц) – включился гиперпластификатор и скачкообразно повысил пластичность, - со стенки стекает, опять работать невозможно. “Забыли” прогрунтовать основу – полимер подстрахует. Жарко – замедлитель схватывания тут как тут. Холодно – ускоритель твердения наготове. Слишком тонким или толстым слоем нанесли – пластическая вязкость скачет, хош-не-хош специальную гребенку будешь использовать. И т.д. и т.д. и т.п. и т.п.
Но тот же плиточный клей можно изготовить и самостоятельно. И качество работы будет не хуже. Вот только “защитой от дурака” должно выступить знание и соблюдение культуры производства.
Если ставить перед собой задачу максимально эффективного использования капитала при производстве ячеистых бетонов – следует не задумываясь покупать готовый целостный производственный комплекс. Его производители уже позаботились, что сразу после окончания монтажа, он начнет выпускать качественную продукцию в запланированном объеме. Но этот путь, хоть и максимально эффективен, но и столь же затратен. Стоимость тех же зарубежных заводов по производству ячеистых газосиликатов – несколько миллионов долларов.
Если предположить, что уровень технической грамотности позволяет отказаться от излишней перестраховки, либо финансовые возможности не позволяют воспользоваться ею в полной мере (что вернее) – имеет смысл попытаться скомпоновать имеющееся оборудование в целостный производственный комплекс. Одной из его составляющих обязательно должно стать оборудование по транспортировке ингредиентов. И в первую очередь цемента.
1. Оборудование по транспортированию цемента.
Если не рассматривать экзотические схемы, то все оборудование, используемое для транспортировки цемента можно разделить на два больших класса - пневматическое оборудование и механическое. В промышленности нашли применение оба этих метода. Часто они используются совместно, либо в комбинированных установках
1.1 Пневматическое оборудование по транспортированию цемента.
1.1.1 Классификация пневмотранспортного оборудования.
Пневматические транспортные установки - это комплекс устройств, перемещающих сыпучие материалы (пылевидные, порошкообразные, зернистые, измельченные и т. д.) с помощью сжатого или разреженного газа. В большинстве пневмотранспортных установок в качестве транспортирующего газа используют воздух. Однако, когда не допустимо соприкосновение воздуха с транспортируемым материалом, применяют инертный газ (например, при транспортировании взрывоопасных и легкоокисляющихся материалов).
Установки для пневматического транспортирования материалов различают по давлению несущего потока, размеру частиц и концентрации перемещаемого материала в потоке, характеру движения потока, типам питательных устройств и др. Наиболее часто их классифицируют по концентрации перемещаемого материала и значению давления в пневмосистеме. Различают установки с низкой, средней и высокой концентрацией частиц транспортируемого материала.
За верхнюю границу низкой концентрации принимают расходную массовую концентрацию µ ≤ 4 кг/кг. Средняя концентрация соответствует значению µ = (4 – 20) кг/кг, µ > 20 кг/кг характеризует поток с высокой концентрацией. Границей между пневматическим транспортированием с разбавленной и плотной фазами является расходная массовая концентрация 50—60 кг/кг. Массовая концентрация 500—600 кг/кг считается наиболее высокой.
В последнее время в различных отраслях промышленности стали применять новые, более экономичные установки пневмотранспорта, в которых материал перемещается сплошным потоком, т. е. в условиях плотной фазы (аэрожелоба, поршневой транспорт).
По способу воздействия воздуха все пневмотранспортирующие установки можно разделить на три основные группы (см. Рис. 1).
К первой группе относятся пневмотранспортные установки, в которых сыпучий материал перемещается в потоке воздуха, т. е. на материал действуют силы давления. По способу создания в транспортном трубопроводе разности давления эти установки могут быть всасывающего, нагнетательного и всасывающе-нагнетательного действия.
Установка всасывающего действия (рис. 1а) состоит из заборного устройства (сопла) - 1, системы трубопроводов 2, осадителя материала - 3, пылеуловителей - 5 и побудителя тяги (вентилятора, вакуум-насоса) - 6, который просасывает через всю установку воздух. Этот воздух, поступая в сопло, захватывает материал, принуждая его двигаться по системе трубопроводов; выделяется материал из потока в осадителе. Оставшиеся в воздухе мельчайшие пылинки улавливает пылеуловитель, а воздух затем через побудитель тяги выбрасывается в атмосферу. В установках всасывающего действия используется низкий (до 90 кПа), средний (до 70 кПа) и высокий (до 40 кПа) вакуум.
В пневматических установках нагнетательного действия (рис. 1 б) трубопроводы и аппаратура находятся под избыточным давлением. Давление наиболее значительно в месте подключения трубопроводов к воздуходувной машине - 5, где обычно материал загружается в пневмотранспортную установку специальным загрузителем: пневматическим винтовым насосом, камерным насосом и т. п. Сжатый воздух, подаваемый от компрессора, может переносить материал при высокой концентрации и на большие расстояния.
Рабочее давление сжатого воздуха на входе в установку составляет 30 кПа, а в отдельных случаях — 500 -600 кПа.
Установки всасывающе-нагнетательного действия (рис. 1.1, в) сочетают основные преимущества рассмотренных установок. В них использованы заборные устройства установок всасывающего действия, работающих без пылевыделения. В основном, наиболее протяженном, транспортном трубопроводе материал переносится под давлением при более высоких концентрациях. В небольших установках обе ветви (всасывающая и нагнетающая) могут работать от одного вентилятора - 14. Осадитель - 3 всасывающей установки имеет в верхней части матерчатый фильтр, который не допускает попадания пыли в воздуходувную машину.
Ко второй группе относятся пневмотранспортные установки с плотным слоем, принцип работы которых основан на псевдоожижении материала потоком сжатого воздуха на перфорированных перегородках. Псевдоожиженным (кипящим) слоем называют такое состояние зернистого материала, обычно расположенного на пористой перегородке, при котором сила воздействия проходящего через отверстия потока превысит массу слоя.
Материал в псевдоожиженном слое устойчиво перемещается только в вертикальных трубопроводах (пневмоподъемники) и в аэрожелобах (рис. 1 б, д). Скорость частиц материала в трубопроводе составляет не более 4—7 м/с, а концентрация – до 600 - 800 кг/кг. Давление сжатого воздуха, зависящее от длины транспортного трубопровода, обычно не превышает 3 - 5 кПа.
Высоконапорное импульсное пневмотранспортирование осуществляется в установках пульсирующего действия, в которых транспортируемый материал перемещается импульсами в виде пробок с промежутками, заполненными сжатым воздухом. В этом случае материал подается с высокой концентрацией и можно транспортировать материалы с плохой текучестью, склонные к налипанию к стенкам трубопровода, а также гранулированные и зернистые без разрушения частиц. Импульсное транспортирование со скоростями от 2 до 6 м/с отличается высокой экономичностью, так как при минимальном расходе воздуха достигается высокая производительность.
Транспортные аэрожелоба - один из видов горизонтального пневмотранспорта сухих мелких некомкующихся материалов. Они относятся к установкам нагнетательного действия с низким давлением, транспортирующим материал в условиях плотной фазы.
Рис. 1. Схемы пневмотранспортных установок: а - всасывающая; б - нагнетательная; в - всасывающе-нагнетательная; г - аэрационная; д – аэротранспортная.
1 - сопло; 2 - всасывающий материалопровод; 3 - осадитель (расходный бункер); 4 - трубопровод; 5 - пылеуловитель; 8 - побудитель тяги; 7 - затвор осадителя; 8 - воздуходувная машина (компрессор); 9 - масловлаго-отделитель; 10 - воздухосборник; 11 - воздухопровод; 12 - питатель. 13 - нагнетательный трубопровод; 14 - вентилятор; 15 - силос; 16 - микропористая перегородка; 17 - аэрожелоб; 18 - загрузочная станция; 19 - разгрузочная станция; 20 – контейнер.
1.1.2 Установки с применением аэрации.
Для вспомогательных операций при транспортировании цемента и других пылевидных материалов серийно выпускают оборудование, работающее по принципу аэрации, при которой порошковый материал насыщается капиллярно распределенным воздухом и приобретает легкую подвижность (текучесть), близкую к текучести жидкости. К этой группе оборудования относятся аэрожелоба, загрузочные установки, аэрационные воздухораспределительные коробки и пневматические донные и боковые разгружатели.
Аэрожелоба предназначены для транспортирования с небольшим уклоном сухого порошкообразного материала как при подаче из одного пункта в другой, так и для распределения материалов по ряду пунктов, а также для сбора материала из ряда точек и подачи его в одну точку. Для автоматической загрузки автоцементовозов, крытых железнодорожных вагонов и вагонов-цементовозов из складов силосного типа используют загрузочные устройства. Аэрационные воздухораспределительные коробки предназначаются для оборудования днищ силосов и бункеров в целях обеспечения беспрепятственной и равномерной выдачи из них сыпучего материала за счет его аэрации.
Пневматические донные и боковые разгружатели предназначены для регулируемой выгрузки сыпучих материалов из силосов с аэроднищами.
Аэрожелоб (см рис. 2) представляет собой трубопровод прямоугольного сечения, составленный из двух П-образных коробов верхнего 6 и нижнего 8, между которыми помещена воздухопроницаемая микропористая перегородка 9 — керамическая или тканевая. Отдельные звенья желоба длиной до 4 м соединены при помощи фланцев 7 в общий аэрожелоб необходимой длины.
В нижний короб, служащий воздухопроводом, через переходный патрубок нагнетается воздух от вентилятора 2 с рабочим давлением до 0,006 МПа. В вентилятор воздух засасывается через фильтр 1, чтобы предохранить микропористую перегородку от загрязнения пылью.
В верхний короб, служащий транспортным лотком, из силоса 3 или другой емкости через верхний загрузочный патрубок 4 подается транспортируемый материал, который аэрируется и перемещается под действием силы тяжести по наклонной плоскости.
Угол наклона аэрожелобов обычно 3—8°. Верхний короб имеет смотровые и вентиляционные окна 5. Вентиляционные окна служат для выхода отработанного воздуха и представляют собой металлическую рамку с фильтрующей тканью, покрытую металлической сеткой.
Рис. 2. Аэрожелоб
При необходимости разгрузки транспортируемого материала в нескольких точках аэрожелоб оборудуют боковыми переключателями.
Аэрожелоб может быть изогнут в горизонтальной плоскости под углом 15, 30 и 45°. Минимальный радиус закругления следует принимать равным 1.8 м.
Для изготовления мягких пористых перегородок рекомендуется применять следующие материалы: восьмислойный хлопчатобумажный ремень (арт. 2332); шестислойную цельнотканую хлопчатобумажную транспортную ленту (арт. 2348); четыре слоя брезента (арт. 11205); капроновую ткань в два слоя (арт. 1545); ткань ТЛФТ-5Ц, изготовляемую фабрикой “Красный Перекоп” (Ярославль), бельтинг хлопчатобумажный Б-800 и В-820 (ГОСТ 2924—67) и др.
При температурах транспортируемого материала более 200 - 250 °С тканевые перегородки заменяют на асбестовые. В этом случае микропористая перегородка состоит из слоя асбестового полотна марки АТ-4 и трех слоев стеклоткани (на внешней стороне). Иногда асбестовое полотно покрывают металлической саржей.
Тканевые перегородки более удобны в эксплуатации, так как они не ломаются при перекосах, но на абразивных материалах аэрожелоба лучше работают с керамическими перегородками.
Керамические плитки легко обеспечивают прохождение воздуха в количеств 6 м3/мин на 1 м2.
Иногда вместо мягкой микропористой перегородки устанавливают воздухораспределительную жалюзийную перегородку. Благодаря такой перегородке воздух вводится в транспортируемый материал не перпендикулярно, а под некоторым острым углом в направлении транспортирования. В результате воздух не только аэрирует материал, уменьшая внутреннее трение, но и динамически воздействует на него, что дает возможность осуществлять транспортирование не только по уклону, но и горизонтально и даже с небольшим подъемом вверх.
По данным практики, воздух следует подводить в аэрожелоб через каждые 30—40 м. Расход воздуха, необходимый для работы аэрожелоба, зависит от физико-механических свойств перемещаемого материала, высоты слоя и угла наклона желоба. Для материалов типа цемента и концентратов руд цветных металлов при высоте слоя материала 50 мм для аэрирования требуется до 3 м3/мин воздуха на 1 м2 аэрирующей поверхности. Для легких и волокнистых материалов расход воздуха возрастает до 15 м3/мин на 1 м2 аэрируемой поверхности.
Технические характеристики некоторых отечественных и зарубежных аэрожелобов приведены в Таблице 1.
Таблица 1
Технические характеристики аэрожелобов
Модель (фирма), страна изготовитель |
Производительность (техническая), т/ч |
Рабочая ширина желоба, мм |
Уклон желоба, град |
Рабочее давление транспортирующего воздуха, МПа |
Расход воздуха, м3/мин на м2 |
1, СССР (для муки) |
10 |
100 |
6 |
0.002 |
2 |
2, СССР (для муки) |
11 — 20 |
150 |
|||
3, СССР (для муки) |
21 — 30 |
200 |
0,002 - 0,0025 |
||
4, СССР (для муки) |
31 — 40 |
250 |
|||
ТН-22, СССР (для цемента) |
200 |
200 |
4 |
0.005 |
1.5 |
ТН-2, СССР (для цемента) |
400 |
400 |
6 |
||
“Фуллер” (США) |
113 |
356 |
8 |
0.005 |
1.5 — 2 |
227 |
408 |
||||
“Скет”, Германия |
17 — 140 |
250 |
4 — 5 |
0.005 |
1 – 1.5 |
50 — 500 |
500 |
||||
500, Франция |
260 — 410 |
3 |
0.005 |
1.5 - 4 |
|
630, Франция |
410 — 680 |
630 |
4 |
0.006 |
1.1.3 Автоцементовозы и автозоловозы.
Автоцементовоз (автозоловоз) представляет собой автопоезд, составленный из седельного тягача и цистерны полуприцепа.
Полуприцеп состоит из цистерны, ходовой части с тормозной системой, опорного и сцепного устройств, электрооборудования. Компрессорная установка смонтирована на специальной раме, закрепляемой на раме тягача. Цистерны различают по расположению резервуара на вертикальные, горизонтальные и наклонные. Отечественная промышленность выпускает автоцементовозы и автозоловозы с наклонным расположением резервуара.
Цистерна включает в себя резервуар цилиндрической формы с выпуклыми эллиптическими днищами (см. Рис. 3), установленный с уклоном 6 – 8 градусов в сторону выгрузки. Внутри цистерны, в нижней ее части, вдоль образующей цилиндра расположены один или несколько аэролотков. Между аэролотками установлены жесткие рассекатели. А в цистерне с одним или двумя аэролотками на боковой поверхности ее, прилегающей к лотку, приварены под углом 45—50° откосы. Аэролоток выполнен в виде короба, покрытого сверху аэрационной тканью. Наверху цистерны имеется загрузочный люк, герметически закрываемый крышкой. В нижней задней части цистерны устроен разгрузочный патрубок с краном, продувочной форсункой и грибовидной головкой для подсоединения при помощи быстроразъемного замка наконечника транспортного материалопровода. Кран служит для регулирования производительности и экстренного прекращения разгрузки.
Рис.3. Автоцементовоз ТЦ-11:
1- седельный тягач КамАЗ-5410; 2 - компрессорная установка; 3 - пневмооборудование для разгрузки; 4 - загрузочный люк; 5 - цистерна-полуприцеп; 6 - разгрузочный рукав; 7 - ходовая часть; 8 - запасное колесо; 9 - опорное устройство; 10 –сцепное устройство
Пневмооборудование автоцементовоза состоит из ротационного компрессора, приводимого в действие от двигателя автотягача через коробку отбора мощности, влагомаслоотделителя, коллектора с предохранительным клапаном и манометром и системы воздухопроводов с кранами. На воздухопроводе подачи воздуха к продувочной форсунке есть обратный клапан. Органы управления компрессором расположены в кабине водителя. Для контроля за давлением на цистерне установлен манометр, а для самозагружающегося материаловоза - мановакуумметр.
Загружают цистерну через загрузочный люк из складов силосного типа посредством донных и боковых разгружателей. Разгружают цистерну за счет подводимого к аэролотку от компрессора сжатого воздуха. Проходя через пористую перегородку, сжатый воздух аэрирует находящийся на нем слой материала и создает давление в цистерне. Насыщенный воздухом материал стекает по аэролотку к разгрузочному патрубку, подхватывается струей воздуха, идущей от продувочной форсунки, и транспортируется за счет избыточного давления по трубопроводу к месту разгрузки в силосный склад. Разгрузка заканчивается при падении давления в цистерне до нуля.
Самозагружающиеся втоцементовозы (золовозы), в отличие от обычных, оборудованы устройствами для вакуумной самозагрузки бестарного цемента, с забором его из бурта, из амбарных складов и крытых вагонов. Оборудование для самозагрузки (см. Рис. 4) состоит из фильтров первой, второй и третьей ступеней, заборного сопла, загрузочно-распределительной трубы, сигнализатора уровня наполнения цистерны
Рис..4 Устройство самозагружающегося автоцементовоза:
1 - сопло; 2 - загрузочный шланг; 3, 13, 14 - пробковые краны; 4, 12 - обратные клапаны; 5 - распределительная труба; 6 - воздухопровод; 7 - сигнализатор уровня; 8 - фильтр первой ступени; 9 - цистерна; 10 - шланг; 11 - моновакууметр; 15 - аэролотки; 16 - влагомаслоотделитель; 17 - вакуумметр; 18 - крышка; 19 - фильтр второй ступени; 20 - инерционный фильтр; 21 - ротационный компрессор; 22 - разгрузочный клапан
Компрессор, входящий в состав автоцементовоза, может работать в режиме вакуум-насоса при самозагрузке и в режиме компрессора - при пневморазгрузке цистерны.
Работа самозагружающегося автоцементовоза основана на заборе и перемещении сыпучего материала по трубопроводу за счет вакуума, создаваемого в цистерне компрессором - вакуум-насосом. Управление заборным соплом осуществляется вручную. Технические характеристики автоцементовозов приведены, в табл. 2.
Таблица 2.
Технические характеристики автоцементовозов и золовозов
Параметры |
ТЦ-4 |
ТЦ-10 |
ТЦ-9А |
ТЦ-:6 |
ТЦ-11 |
ТЦ-2А |
ТЦ-2Б |
Грузоподъемность, т |
8 |
10 |
12 |
13.5 |
14.5 |
22 |
22 |
Производительность разгрузки, т/мин |
0.5 – 1.0 |
0.9 – 1.0 |
|||||
Дальность подачи при разгрузке, м |
50 |
||||||
В том числе по вертикали, м |
25 |
||||||
Производительность самозагрузки, т/мин |
до 0.5 |
0.4 |
самозагрузка не предусмотрена |
||||
Производительность компрессора, м3/мин |
6.0 |
7.5 |
|||||
Рабочее давление нагнетания, МПа |
0.15 |
0.16 |
|||||
Рабочее разрежение, % |
60 |
В режиме вакуум насоса работа компрессора не предусмотрена |
|||||
Масса (без груза), кг |
7300 |
7600 |
10950 |
10900 |
12150 |
17600 |
17300 |
Завод-изготовитель |
Прилукский завод строительных машин (Украина) |
Красногорский завод “Цеммаш” (Россия) |
Славянский завод “Строймаш” (Украина) |
1.1.4 Некоторые практические соображения и “производственные секреты” работы цементовозов.
Автор не одну тысячу километров провел как в кабине цементовоза так и, порой, за его рулем – наша организация длительное время специализировалась на поставках цемента. Снабжение цементом – это достаточно отлаженный и стабильный бизнес, изобилующий своими нюансами и производственными секретами. Люди, которые этим занимаются десятилетиями, если не всю жизнь, знают его досконально. И уж поверьте, ВСЕГДА найдут способ, как добыть своим детям не только кусок хлеба, но и масло с икрой к нему. А чтобы они сильно не “жировали” и Вам следует знать хоть некоторую толику производственных секретов. Тем более что цемент – главная составляющая пенобетона. От его качества и рентабельности поставок зависит очень многое, если не все.
Только на самых первых, начальных порах, можно довериться случайным поставщикам цемента. Какими бы громкими регалиями, они не прикрывались и какие бы красивые бумажки и сертификаты они Вам не показывали. Гарантом качества данной партии цемента является ТОЛЬКО заключение НЕЗАВИСИМОЙ лабораторной экспертизы (даже к лабораторному заключению цемкомбината следует относиться с известной долей скептицизма). А так как лабораторная проверка цемента процесс достаточно длительный и дорогой – проводить его на месте имеют возможность только крупные потребители. И даже они это делают оЧЧЧЧЧень редко – дешевле и проще, получается, подстраховаться простым перерасходом цемента.
Проблема усугубляется еще и тем, что в процессе погрузки или тарирования, еще на заводе, возможны различные “схемы”, благодаря которым вы вместо своей бездобавочной пятисотки, на вполне законных основаниях получите, в лучшем случае четырёхсотый, а то и вообще шлакопортланд, в котором будет половина шлака, и который для пенобетона ну никак не годится – сплошное мучение. Хотя на внешний вид они абсолютно одинаковы.
Как быть?
Совет первый, главный – не только у Вас есть дети. Не жадничайте, и все у Вас получится.
Совет второй – берете новое ведро и заполняете его доверху конфетами. Самыми дорогими, какие найдете. Легенду придумайте сами, главное, чтобы под её прикрытием Вы с этим своим ведром проникли в заводскую лабораторию. Лучше всего ничего не выдумывать – честно рассказать, как для Вас важны поставки качественного цемента и как Вы способны ценить эксклюзивную информации. В заводских лабораториях работают очень милые и симпатичные молодые девушки, в отличие от отдела сбыта, как правило, обделенные вниманием клиентов. Вы сами будете поражены как много очень интересной и полезной информации узнаете, подружившись с сотрудниками заводской лаборатории. Уж поверьте, способ проверен многократно. И ни разу он не давал осечек. А непринужденное общение за чашкой чая, с вашими-же конфетами, будет не только полезно в плане Вашего профессионального роста, но и просто приятно…
Совет третий – располагая “эксклюзивчиком” (как там минералогия “пляшет”, какая печка не в режиме, какая банка силоса заполняется прямиком с мельницы, а какая была заполнена еще пол года назад, что-там с мелющими телами, и на какой мельнице “тонина упала” и т.д. и т.д. и т.д.), Вы сможете уже более определенно и предметно общаться на отгрузке. Там Вам тоже нужно будет обязательно “навести мосты”. При умелом подходе даже проблема пересортицы (см. выше) может быть обыграна в Вашу пользу, а её неизбежные последствия будет расхлебывать какой нибудь колхозник, который всего этого, разумеется, не читал.
Совет четвертый – при малейшей возможности организуйте снабжение своего производства при помощи цементовоза – цемент навалом. В этом случае, возможен хоть какой-то контроль. Работать же на тарированном цементе, в мешках, оставьте любителям самоистязания. Там ситуация настолько закрученная, что о каком либо качестве или стабильности можете забыть в принципе. Или гарантированный недовес, или гарантированная пересортица – третьего не дано. А к надписям на мешках относитесь как к забору, - на нем еще и не такое пишут.
Совет пятый – если Вы имеете возможность разовой приемки цементовоза, иными словами ему есть куда “выдуться” (подготовленный сарай, спец. хранилище и т.д.) очень ответственно подойдите к выбору собственно самого цементовоза и, самое главное, водителя который на нем работает. Если все сделать грамотно – профессионал-водитель, который на этом цементовозе проработал всю жизнь, и который знает на ближайших цем. комбинатах каждую собаку, решит большинство Ваших проблем. Как правило, это ушлые и толковые дядьки, которые не только в совершенстве знают свою машину и спец. оборудование на ней, но и детально посвящены во все тонкости и нюансы всего этого дела – вплоть до особенностей личной жизни сотрудников цем. комбината. Они за руку здороваются с каждым гаишником на дороге и с помощью маленькой шоколадки, хихи-хаха и шаловливых ручек, в три минуты решают все проблемы в отделе сбыта. И даже очередь на загрузку, машин эдак в 300, помеха для них не большая – максимум через час, перегруженная бочка начинает монотонно “бодаться в спину” на пути домой.
Разумеется, подобный “сервис” удовольствие не из дешевых – доставка цемента автоцементовозом стоит 0.5 – 1.0 доллара за километр пути и вплотную приближается к цене самого транспортируемого цемента (расценки Восточной Украины). И многие начинающие или разовые потребители цемента, считая эти расценки грабительскими, стараются сэкономить на доставке любым доступным способом. Рано или поздно, но практически всегда, жизнь им преподносит урок, и они начинают понимать, что профессионализм в любых его проявлениях, дешевым быть не может по определению.
Совет шестой – если транспортное плечо до нужного цем. комбината превышает 200 км, и Вы способны принять вагонные нормы, имеет смысл рассматривать схему комбинированных поставок – железная дорога + автотранспорт.
Традиционно эта схема решается при помощи местного завода ЖБК. У них, как правило, имеются производственные мощности по приему и хранению вагонных норм. Берут они за эту услугу обычно тем же цементом – от 10% с хопра за разгрузку, и 5 – 10% за месяц хранения. Удовольствие не из дешевых и для приемки высокомарочных цементов не годится в принципе – никто не будет там носиться с вашей бездобавочной пятисоткой. Свалят в общую кучу в свободный силос и, в лучшем случае, не станут его гонять по банкам.
Модернизация этой схемы – осуществить перегруз с вагона-хопра в свое хранилище самостоятельно. За достаточно скромное вознаграждение на любой станции “отобьют готовность” на цем. комбинат по приему специального вагона-цементовоза в ближайшем тупике. Разумеется, если Вы аргументировано убедите начальника станции, что сможете обеспечить его разгрузку самостоятельно. (Такую экзотику, как - дежурным тепловозом раскрываем на перегоне люки “под себя”, на брезент, а затем десяток студентов за ночь “растаривают” 65 тн в мешки, конечно, предлагать не стоит. Схема хоть и очень красивая и подкупающе дешевая, всё же предполагает очень четкую организацию и опыт подобных экстремальных действий, уж поверьте на слово).
Гораздо проще организовать разгрузку вагона-цементовоза при помощи автоцементовоза. Он же и доставит его к точке разгрузки и, без хлопот выгрузит. Единственный нюанс – бочка должна быть оборудована соответствующей системой самозагрузки. Как правило, все 12-ти тонные бочки с тягачом КАМАЗ-5410, именно такими и выпускаются изначально заводом. Суть этой системы – компрессор начинает работать “наоборот” - как вакуумный насос. Он создает разрежение в бочке, и струя всасываемого воздуха захватывает цемент. Чтобы он не попал в насос, есть два фильтра - один непосредственно на компрессоре и другой в самой бочке. Вот с эти фильтром то обычно и возникают главные проблемы – его просто срезают, чтобы увеличить полезный объем бочки и 12-ти тонник превращается в 14-ти тонник. Соответственно цементовоз уже не способен к самозагрузке.
И даже если все нормально – водители очень неохотно соглашаются на подобные издевательства над техникой. Как ни крути, запыленный воздух, даже после всех фильтров, очень быстро изнашивает текстолитовые пластины в роторном насосе, - его производительность резко падает. И если, в обычном режиме, компрессор не требует к себе внимания годами, то через 10 – 15 циклов самозагрузки пластины нужно менять. На “нерасфрезерованных канавках ротора компрессора” это усугубляется еще и крайней дефицитностью этих самых пластин.
Поэтому если водитель не уверен в целостности фильтров, он НИКОГДА не согласится на самозагрузку. Ну, разве что, полный дурак или, что чаще, случайный “наездник”. И наказаны за подобную неосмотрительность будете в первую очередь Вы сами – с неисправными фильтрами насос сломается через 10 минут работы, вагон затолкают в тупик, и все то время, пока Вы будете судорожно метаться по городу в поисках нового цементовоза согласного на самозагрузку, штрафы за простой будут облегчать Ваш кошелек.
Зондаж на предмет возможной самозагрузки следует начинать только с водителя, - никакое начальство, в этом вопросе Вам не помощник. Разговор рекомендую начать с полушутливого и фривольного склонения слова “сосать”, разумеется, по отношению к цементовозу. Как бы Вы не пыжились, это слово имеет настолько специфическую интерпретацию в повседневной речи, что ответные реплики наверняка весьма обогатят Ваш словарный запас оригинальными оборотами, - Вам только того и надо. Хотя подобный стиль беседы предполагает обязательное умение парировать выпады оппонентов их же языком, любой водитель цементовоза сразу же поймет о чем речь. И если тема не затухает, или начинает активно поддерживаться, - это верный сигнал – бочка соответственным образом оборудована (начальство, как правило, в подобные тонкости не посвящают), а водитель готов к более предметному обсуждению. Вот тогда уже и пойдет заинтересованный разговор, результат которого всецело будет зависеть от Вашей подготовленности к тому факту, что операция самозагрузки действительно весьма хлопотна и нетипична для повседневной работы, а, следовательно, должна быть соответствующим образом вознаграждена.
Если переговоры прошли успешно, и Вы заполучили сосущий цементовоз, дальнейшее весьма просто. Грамотно построенная беседа с экипажем дежурного тепловоза и сразу по прибытию, вагон уже стоит в удобном месте. И Вы об этом знаете, еще, как только он пересек входные стрелки – дармовые “бесплатные” сутки на разгрузку наверняка по достоинству будут оценены Вашим начальником.
Дальше дело техники – бочка двенадцатитонника заполняется максимум за час. Внутри вагона-хопра должен находится человек в противогазе, который “водит” соплом и обеспечивает забор цемента по углам.
Совет седьмой – контроль выгрузки.
Если цементовоз “ходит под загрузку” без Вашего экспедитора, либо они с водителем “спелись” (очень часто, если не всегда, водитель берет экспедитора в долю – в этом вопросе нужен глаз да глаз) - возникает проблема обеспечения сохранности тоннажа в пути. Профессиональный водитель ВСЕГДА знает, в каком придорожном селе можно тонну другую быстренько выдуть. Проверить этот факт очень сложно, если не знать одного секрета - если система выгрузки по пути домой включалась, то в открытый люк видно, что цемент испещрен сетью трещин (как пересохшая глина летом).
Открывая для проверки верхний люк, обязательно обратите внимание на различные проволоки, веревки и т.д. торчащие из него. Это верный признак - на донных сетках аэрожолоба лежит кусок брезента. После “окончания” разгрузки, водитель за веревку вытащит этот брезент и еще пару тонн выдует, но уже себе.
В процессе выгрузки очень сложно определить момент её окончания, все ревет, пыль, дым – подходить страшно. Падение давления на манометре бочки НЕ ЯВЛЯЕТСЯ признаком полной разгрузки, как бы Вас водитель в этом не убеждал. Внимательно следите за шлангом, по которому цемент транспортируется. Пока он хоть немного вздрагивает - значит, цемент еще идет. Если резко упало давление, но шланг продолжает дрожать – заставляйте водителя продолжать разгрузку. Все его высказывания по данному вопросу – дешевый спектакль, рассчитанный на Вашу эмоциональную неустойчивость.
Совет восьмой – если доверяете, дайте водителю заработать.
Проверено неоднократно – цементовоз может взять цемента больше, чем по паспортным данным на данную бочку. Это зависит от мастерства оператора загрузки (по минимуму аэрирует цемент на аэрожелобах силосов), желания самого водителя (“дергает” бочку – зрелище не для слабонервных, или ждет несколько часов пока само уляжется). Многое зависит также и от схемы, по которой в данный момент работает отгрузка – если идет сильно аэрированный цемент прямиком с мельниц (обычно это летом) получается вообще недогруз.
Если от водителя поступает предложение, что он, дескать, вместе с Вашими 12-тью, привезет для себя еще пару тонн – знайте такой трюк в принципе возможен. Но решения по данному вопросу должно исходить целиком из Вашей степени доверия данному водителю.
1.2 Механическое оборудование по транспортированию цемента.
1.2.1 Винтовые конвейеры
Винтовые конвейеры (шнеки) применяются для транспортирования цемента, гравия, песка, шлака, мокрой глины, бетонной смеси на расстояние 30 - 40 м. Они могут перемещать материалы под углом до 20°; в отдельных случаях их используют и для вертикального транспортирования. Винтовой конвейер (рис. 4, а) представляет собой винт, заключенный в кожух (желоб). При вращении винта материал перемещается вдоль его оси. Работают такие конвейеры при определенной окружной скорости винтов, которая выбирается в зависимости от коэффициента трения между материалом и винтом. Качество работы конвейера зависит от заполнения желоба: при слишком большом заполнении трение между материалом и винтом будет очень велико и может произойти закупорка желоба; при недостаточном заполнении не достигается возможная производительность.
В зависимости от вида транспортируемого материала применяют конвейеры со сплошным, ленточным, фасонным или лопастным винтом (рис. 4, б).
Сплошные винты используют для транспортирования цемента, мела, гипса, гранулированных шлаков.
Крупный гравий, песчаник, известняк лучше транспортируются ленточным или лопастным винтом.
Рисунок 4. Винтовые конвейеры.
а – схема конвейера; б – форма винтов: 1 – сплошной, 2 – ленточный, 3 – фасонный, 4 – лопастной винт.
Для транспортирования цементных растворов, бетонных смесей, мокрой глины целесообразнее применять конвейеры с лопастными или фасонными винтами. Число оборотов винта при транспортировании этих материалов в 1.5 - 2 раза меньше, чем при транспортировании сухих материалов, и составляет 30 - 60 об/мин.
Производительность винтовых конвейеров зависит от средней площади сечения потока материала в желобе и скорости его перемещения вдоль оси. Эти величины зависят от диаметра желоба, шага и оборотов винта, его конструкции и свойств материала.
Шаг винта равен диаметру или 0.8 диаметра винта. Диаметры винтов стандартизованы и изготовляются в пределах от 0.15 до 0.6 м. При выборе конвейеров необходимо, чтобы шаг винта был в 12 раз больше среднего размера кусков сортированного материала и в 4 раза больше максимального размера кусков рядового материала.
Методология расчета винтовых конвейеров проста и отработана настолько, что задается студентам в качестве домашнего задания. Более подробную информацию можно почерпнуть из списка литературы. В качестве ориентира приведены данные серийно выпускаемых винтовых конвейеров для транспортировки цемента (см. Таблица 3)
Таблица 3
Параметры |
Тип конвейера |
|||||||||||
Ш2-00 |
Ш3-00 |
Ш4-00 |
||||||||||
Диаметр винта, мм |
200 |
300 |
400 |
|||||||||
Обороты об/мин |
23.6 |
37.5 |
60 |
95 |
23.6 |
37.5 |
60 |
95 |
23.6 |
37.5 |
60 |
95 |
Производительность м3/час (по цементу) |
2.2 |
3.4 |
5.4 |
7.6 |
7.2 |
11.4 |
18.4 |
30 |
17.7 |
28.2 |
45 |
71 |
Мощность эл. двигателя на каждые 10 пог. метров длинны (по цементу), кВт |
1 |
1 |
1.7 |
1.7 |
1.7 |
2.8 |
4.5 |
7 |
4.5 |
7 |
10 |
14 |
Шаг винта, мм |
160 |
240 |
320 |
|||||||||
Ориентировочный вес 1 пог. м конвейера (без привода), кг |
58 |
111 |
145 |
|||||||||
Стандартная дина секции желоба, м |
2.0 |
2.0 |
3.0 |
Замечу только, что для практических нужд исходят в первую очередь из имеющегося в наличии шнека – это самая дефицитная часть. Отталкиваясь от его геометрических параметров, выстраивают и весь остальной расчет.
При всей кажущейся экзотичности, шнеки очень распространены в народном хозяйстве. И в первую очередь в сельскохозяйственной технике. В каждом комбайне, например, десятки шнеков различных размерностей. Практически все они подходят для изготовления винтового транспортера по перемещению цемента.
Использование “сельскохозяйственных” шнеков существенно удешевляет конструкцию. Их ориентировочная цена 5 – 10 дол/пог. метр. Это на порядок дешевле специализированных строительных изделий при сопоставимом ресурсе.
1.2.2 Специализированное оборудование для хранения и транспортирования цемента.
Как показала наша практика, очень удобными для качественного хранения без значительной потери активности и порционной выдачи цемента являются специализированные емкости со шнеками на дне. Это специальной формы бункера, вмещающие 8 – 10 тн. цемента. Их форма выполнена таким образом, что расположенные внизу два шнековых транспортера, самозагружаются без посторонней помощи и обеспечивают практически полную разгрузку бункера без какого либо дополнительного аэрирования. (Каждый цикл выгрузки с использованием воздуха снижает активность цемента примерно как после месяца хранения – на 8-15%)
Такие цементные бункера работают в составе специализированных комплексов, по тампонированию скважин, например (во всяком случае, наш был именно оттуда). Абсолютно аналогичные бункера применяются для транспортирования и раздачи комбикормов на птицефабриках. Если есть возможность нужно обязательно “присмотреться” к ним – часто они просто валяются на машинном дворе ближайшего колхоза.
Одно время мы активно использовали подобный бункер, сейчас он без дела, для хранения и выдачи цемента прямо на стройке. “Автомобильные” габариты, позволяют его легко транспортировать в кузове грузовика. На стройке его устанавливают краном на блоки в удобном месте. Приходит автоцементовоз и выдувается в бункер. Шнеки приводятся во вращение отдельным электродвигателем с редуктором. По мере надобности включается мотор, и порция цемента высыпается прямиком в бетоносмеситель. Достаточно точную дозировку можно осуществить, считая обороты шнека.
После окончания работ бункер легко демонтируется и перевозится на новое место.
1.3 Спиральный перегрузчик цемента
(Приведено по материалам, впервые опубликованным в: “Сборник материалов по обмену опытом в строительстве. Новое в производстве строительных материалов. Бюллетень строительной техники № 18, 1956 г.” Автор: инж. Дидык В.П. СМУ Миинпищепрома)
Погрузка и разгрузка таких материалов, как цемент, гипс и известь-пушонка, транспортируемых без тары (навалом), весьма затруднительна.
При обычных способах работ на месте погрузки и разгрузки наблюдается большое распыливание тонкомолотых материалов.
Автором предложен простой способ механизированной погрузки и разгрузки тонкомолотых пылевидных материалов при помощи спирального перегрузчика.
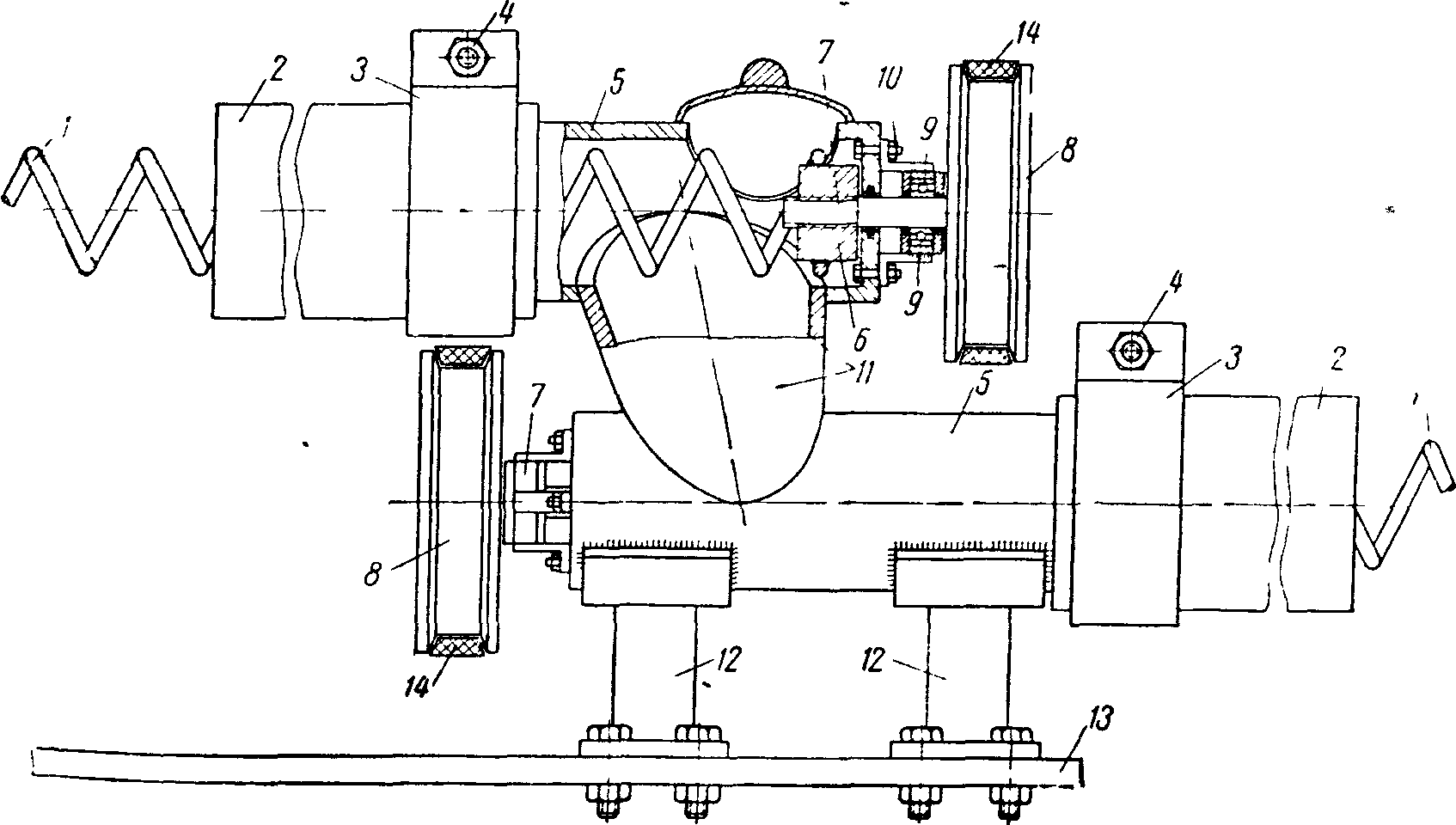
Установка (см. Рис. 5) состоит из гибкой стальной спирали, резинового шланга, трансмиссии и электромотора Цилиндрическая спираль из арматурной стали диаметром 4 - 8 мм вводится в гибкий шланг. Диаметр шланга назначается в зависимости от требуемой производительности и условий работы.
Шаг витков спирали принимается равным 0.8 диаметра шланга, а диаметр спирали на 4 - 6 мм меньше диаметра шланга для образования зазора между витками и стенками шланга в целях уменьшения влияния трения. Стальная спираль приводится во вращение электромотором через ременную или клиноременную передачу. На рис. 2 приведен наиболее простой вариант узла крепления спирали при односторонней работе установки.
Разрез по 1 - 1
Рис. 5. Деталь крепления опирали при односторонней работе установки.
1 - спираль; 2 - шланг; 3 -хомут; 4 - болт; 5 - патрубок; 6 - шкив; 7 - хвостовик; 8 - болт; 9 - ременная передача; 10 - стойки; 11 - выпускное отверстие; 12 - станина; 13 - электромотор
Шланг - длиной 7 - 8 м, диаметром от 50 до 100 мм надевается на стальной патрубок и хомутом при помощи болта прикрепляется к патрубку. На патрубок надет шкив, который передает от электромотора вращение на спираль (через ременную передачу).
Шкив прикреплен к хвостовику болтом, а хвостовик приварен к спирали. При вращении шкива вращается и спираль стойки. Патрубок опирается на две стальные стойки; стойки одним концом приварены к патрубку, а вторым - прикреплены болтами к станине.
В патрубке имеется отверстие для выгрузки цемента.
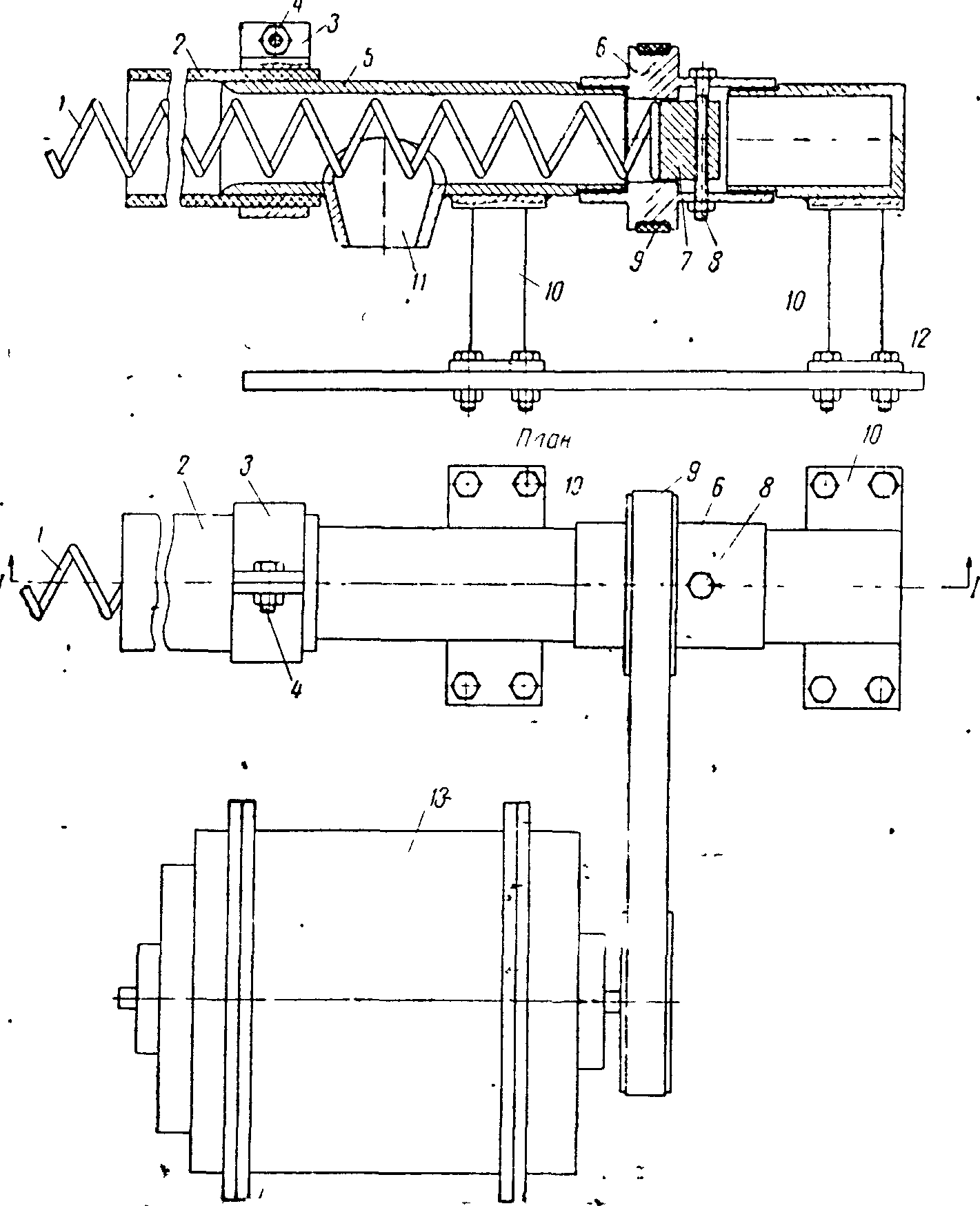
Вариант узла простого крепления спирали при двусторонней работе показан на рис. 6.
Рис. 6 Деталь крепления спирали при двусторонней работе установки
1 - спираль, 2 - шланг, 3 - хомут, 4 - болт, 5 - патрубок, 6 - шкив; 7 - подшипник; 8 - сальники; 9 - болт, 10 - болт с ушком; 11 - стойки; 12 - ременная передача; 13 - станина
Из рис. 6 видно, что при соединении двух патрубков имеется зазор 3 - 4 мм. Этот зазор снизу по периметру патрубков перекрыт втулкой. В верхней части втулки проходит болт с ушком для спирали; втулка болтами крепится к шкиву, вращающемуся на шарикоподшипниках. Шкив при помощи ременной передачи электромотором приводится в движение. В остальном устройство установки такое же, как и при односторонней работе.
Детали узла перегрузки с одной установки на другую приведены на рис. 7.
Рис. 7. Деталь крепления спирали при перегрузке пылевидных материалов
1 - спираль, 2 - шланг; 3 - хомут, 4 - болт, 5 - патрубок, 6 - хвостовик, 7 - ось шкива; 8 – шкив; 9 - подшипники; 10 - болт; 11 - отверстие; 12 - стойки; 13 - станина; 14 - ременная передача
Основное отличие узла заключается в том, что вращающийся на шарикоподшипниках хвостовик соединен с осью шкива, а к хвостовику приварена спираль. При вращении шкива вращается хвостовик и приводит в движение спираль. В патрубке имеется отверстие, через которое цемент или другой сыпучий материал попадает на патрубок второй установки, - расположенной ниже - под первой.
На основании наблюдений за работой установки и отдельных экспериментов составлена Таблица 3 основных показателей.
Таблица 3
Производительность в м3/час |
Диаметр шланга в мм |
Диаметр спирали в мм |
Диаметр проволоки для спирали в мм |
Шаг витка спирали в мм |
Количество оборотов спирали в мин. |
Мощность мотора в кВт |
Длина шланга в м |
1.0 – 1.5 |
50 |
44 - 46 |
5 - 8 |
40 - 50 |
500 - 700 |
0.5 – 1.0 |
4 - 8 |
6.0 – 8.0 |
75 |
64 - 68 |
8 - 10 |
60 - 70 |
500 - 700 |
1.0 – 1.5 |
Из таблицы видно, что с увеличением диаметра шланга повышается производительность установки. Однако на основании опыта установлено, что при большом диаметре шлангов труднее работать и поэтому целесообразнее иметь несколько установок с диаметром шлангов 75 - 100 мм, чем пользоваться установкой с диаметром, шлангов более 100 мм.
Опыты показали, что перемещение влажных материалов при длине шланга 4 - 8 м происходит с большим напряжением для спирали, поэтому влажные материалы перемещать не рекомендуется. Начальное усилие, возникающее на спирали при заборе и перемещении сыпучих, весьма значительны; поэтому не следует спираль закреплять непосредственно на оси электромотора, так как в этом случае может произойти поломка спирали в месте закрепления ее на оси мо тора; усилие от мотора лучше передавать на спираль через ременную передачу. Это особенно важно при небольших диаметрах шланга.
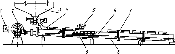
На рис.8 приведены схемы, характеризующие применение описываемой установки.
Рис. 8. Схема погрузки и разгрузки цемента при помощи установки.
а - выгрузка цемента из автомашины в склад; б - загрузка дозатора растворного узла цементом; в – разгрузка цемента из железнодорожного вагона; г - перегрузка цемента с одной установка, подающей цемент из склада, на вторую установку, транспортирующую цемент в автомашину.
При помощи установки можно подавать сыпучие материалы не только по горизонтали, но и по вертикали; при этом необходимо увеличить число оборотов спирали до 800 - 1000 об/мин. Высота подъема зависит от прочности спирали.
Опыт показал, что при изготовлении спирали из полосовой стали 5 х 15 и 5 х 18 мм при равных условиях повышается производительность установки на 35 - 40%.
Установки по выгрузке цемента с автомашины на склад и перемещению цемента со склада к дозировочному ящику растворомешалки работали в Москве на строительстве жилого дома. Они были изготовлены непосредственно на стройке.
Спираль можно изготовлять на строительстве без особого оборудования - путем навивки проволоки на круглый сердечник (по предварительно заданному диаметру требуемой спирали) виток к витку; после снятия спирали из сердечника ее равномерно растягивают до заданного шага витков.
При изготовлении спирали необходимо обращать внимание на равномерный шаг витков, так как при неравномерном шаге в шланге может создаться пробка из сыпучего материала при вращении спирали.
Приведенная установка изготовлена по упрощенному варианту, так как она предназначена для погрузки и разгрузки цемента на небольших строительных объектах.
Список использованной и рекомендуемой
литературы.
1. Александров М.П. Подъемно-транспортные
машины. 1085 г.
2. Гальперин М.И., Домбровский Н.Г.
Строительные машины. 1971 г.
3. Зенков Р.Л., Ивашков И.И., Колобов Л.Н.
Машины непрерывного транспорта. 1987 г.
4. Машины и аппараты химических производств.
Основы теории и расчета. Под ред.
Чернобыльского И.И. 1959 г.
5. Пневмотранспортное оборудование.
Справочник. 1988 г.
6. Пневмотранспортные установки. Справочник.1969
г.
7. Подъемно-транспортное оборудование.
Каталог-справочник. 1964 г.
8. Сборник материалов по обмену опытом в
строительстве. Новое в производстве
строительных материалов. Бюллетень
строительной техники № 18, 1956 г.
9. Слесарев Ю.М. Приготовление бетонной
смеси и строительного раствора. 1979 г.
10. Спиваковский А.О., Дьячков В.К.
Транспортирующие машины. 1983 г.
11. Спиваковский А.О., Руденко Н.Ф. Подъемно-транспортные
машины. 1948 г.
12. Строительные машины. Под ред. Баумана В.А.
Том 2. 1977 г.
13. Строительные машины. Под ред. Горбовца М.Н.
Том 2. 19991 г.
14. Строительные машины. Справочник. 1954 г.
15. Финделеев А.С., Чубук Ю.Ф. Строительные
машины. 1971 г.
При подготовке выпусков рассылки “Все о пенобетоне” используются только источники открытой печати и патентная литература бывшего СССР. Вся литература, на которую ссылается автор, имеется у него в наличии. Любые обвинения в нарушении нынешнего патентного законодательства и законов по охране авторских прав являются юридически несостоятельны.
Дата последней редакции 12.04.2004 - 47628 знака
Чертежей схем и графиков и таблиц – 11 шт.
Библиография – 15 наименований
Сергей Ружинский, Харьков, Городок
E-mail: ryginski@aport.ru
Copyright 1999-2004 ООО Эльдорадо. Все права защищены.
www.ibeton.ru - Пенобетон - оборудование для производства, обучение на производстве, технология. Расходные материалы для производства - пенообразователь, ускоритель, смазка форм.
http://subscribe.ru/
E-mail: ask@subscribe.ru |
Отписаться
Убрать рекламу |
В избранное | ||