Отправляет email-рассылки с помощью сервиса Sendsay

Посылторг - ЖИВ!

  Все выпуски  

Посылторг - ЖИВ! Мощный преобразователь напряжения своими руками


Спонсор выпуска - Интернет-магазин почтового агентства DESSY. Это интернет-магазин с 16-ти летней историей!

      Здравствуйте, уважаемые радиолюбители! Здравствуйте творческие технари!

      Для истинных любителей радиоконструирования я публикую сегодня понравившуюся когда-то (не менее 2-х лет назад) мне статью с описанием весьма интересной и полезной в жизни конструкции мощного преобразователя для питания бытовых приборов от автомобильного аккумулятора или от автомобильной сети напряжением 12В. И хотя вы легко можете найти эту статью на просторах Интернета, я решил облегчить вам ваши поиски. Читаем:

Мощный преобразователь для питания бытовых электроприборов

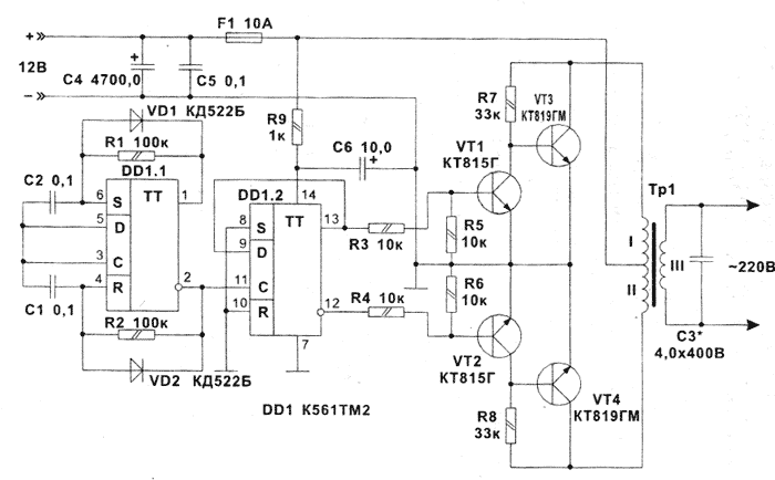
    На рис. 1. приведена приницпиальная схема мощного преобразователя для питания бытовых электроприборов (телевизор, дрель, электронасос и т.д.) от автомобильного аккумулятора. Преобразователь обеспечивает выходное напряжение 220 В, 50 Гц на нагрузке мощностью до 100 Вт. При максимальной нагрузке потребляемый от аккумулятора ток не превышает 10 А.

Рис. 1. Мощный преобразователь для питания бытовых электроприборов от автомобильного регулятора

    Количество деталей в устройстве сведено к минимуму. На микросхеме DD1.1 собран задающий генератор с частотой 100 Гц. Точную настройку частоты (что важно для нормальной работы аппаратуры) осуществляют резисторами R1 и R2. Деление частоты на 2 и управление транзисторами обеспечиваются второй половиной микросхемы - D1.2. Транзисторы VT1, VT2 включены для обеспечения нормального режима работы выходов DD1.2 при максимальном токе нагрузки. Выходные транзисторы VT3, VT4 устанавливаются на радиаторы, площадь которых не менее 350 см2.

    Для сглаживания прямоугольных фронтов предназначен конденсатор С3, который вместе с выходной обмоткой и нагрузкой образует резонансную систему. Его емкость сильно зависит от характера нагрузки. Трансформатор ТР1 выполнен на магнитопроводе марки ШЛМ или ПЛМ габаритной мощности 100 Вт. Обмотки I и II содержат по 17 витков провода ПЭВ-2 2,0 мм, обмотка III содержит 750 витков провода ПЭВ-2 0,7 мм.

    Данную схему очень легко переработать под высокочастотный преобразователь напряжения (частота преобразования ~ 25 кГц). Для этого достаточно поднять частоту задающего генератора на D1.1 до ~ 50 кГц, изменив емкости С1 и С2 на 180 пФ, и заменить ТР1 на высокочастотный трансформатор. Мощность преобразователя зависит от нагрузки выходных транзисторов, максимальный ток, который они могут дать не должен превышать 8 А в плече. Для увеличения тока уменьшается количество витков трансформатора в I и II обмотках до 8-10. На выходе преобразователя устанавливается диодный мост и ВЧ-фильтр, применяемые в них компоненты должны обеспечивать нормальную работу на частоте 25 кГц.

    Первоисточник, по крайней мере для меня - здесь. Там на сайте вообще море интересных статей! А эту конструкцию лично я повторил 2 раза и еще штук 5 было собрано по моей рекламе и под моим "консалтингом" в наших гаражах в районе города возле станции Тюра-Там. С одним из блоков мои друзья этим летом 2 недели жили в степи в Крыму на мысе Тарханкут. Там смотрели телевизор и пользовались обычным компьютером (не ноутбуком!). Они были на белом Ford Tranzit с казахскими номерами.

Оборудование, инструменты и радиодетали поставляет Интернет-магазин DESSY. Здесь же можно заказать стеклотекстолит и макетные платы, которые лично я и использовал в своей деятельности.

Пишите им на их e-mail: post@dessy.ru
микроэлектроника, микросхема, микроконтроллер, память, msp430, MSP430, Atmel, Maxim, LCD, hd44780, t6963, sed1335, SED1335, mega128, avr, mega128 Интернет-магазин почтового агентства ДЕССИ. Пишите мне - Toretam{at}narod.ru    Рассылка 'Посылторг - ЖИВ!'

В избранное